Nicht nur Samsung wird diese Woche ein Jubiläums-Smartphone mit faltbaren Display vorstellen. Auch Mitbewerber wie Xiaomi, Huawei, TCL und sogar Microsoft mit einem Surface Phone zeigen ihre Errungenschaften auf dem Gebiet. Nun meldet sich Apple mit einem neuen Patentantrag zurück, der gleich 24 faltbare Displays zeigt.
Samsung hat bereits amtlich Werbung betrieben, um die Welt darauf aufmerksam zu machen, dass der Konzern diese Woche in San Francisco nicht nur drei neue Galaxy S10 Modelle präsentiert, sondern auch ein faltbares Smartphone vorstellen wird. Schließlich hat der Hersteller anlässlich 10 Jahre Galaxy-Smartphones ein kleines Jubiläum zu feiern. Da darf der indirekte Konkurrent Apple in nichts nachstehen.
Apple kann auch faltbare Displays
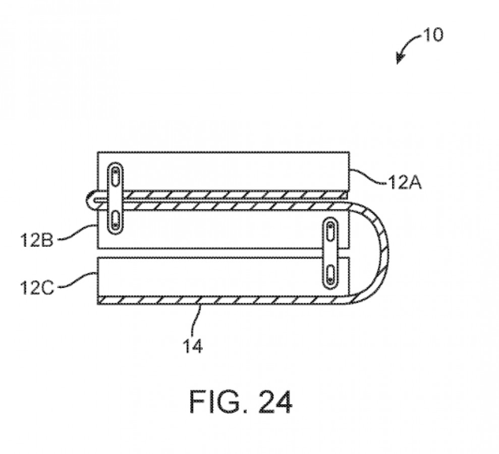
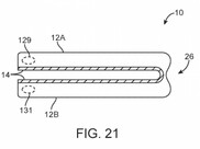
Auch der Konzern aus Cupertino arbeitet schon seit längerem an einem iPhone was sich zu einem iPad auseinander klappen lässt. Derartige Patentanträge aus dem Jahre 2011, 2014 und 2016 wurden im Oktober 2018 auf den neuesten Stand gebracht. Insgesamt 24 Skizzen zeigen unterschiedliche Arten das Apple iPhone zu falten. Wir erfahren leider erst heute davon, da nun der Patentantrag von der USPTO (United States Patent Application Publication) die eingereichten Dokumente genehmigt hat.
Im Patentantrag ist unter anderem folgender Text zu entnehmen:
Elektronische Vorrichtungen können vorgesehen werden, die mehrere Gehäuseabschnitte enthalten. Die Gehäuseabschnitte können über Scharniere miteinander verbunden werden. Die Konstruktion kann wiederum Scharniere auf der Basis eines Dreibalkengestänges, Scharniere aus flexiblen Stützstrukturen und Scharniere auf der Basis flexibler Gehäusestrukturen beinhalten. Faltbare Displays können an den überlappenden Abschnitten angebracht werden. Die Scharniere können mit drehbaren Arretierungen versehen werden, um das flexible Display in der gewünschten Position zu halten.
Apple lässt dabei schier keine Möglichkeit aus. Apple faltet das Display nach innen wie zuletzt bei dem Motorola RAZR Comeback, nach außen und nach innen und außen. Es gibt sogar eine Skizze wo das Display dreifach aufeinender gestapelt wird. Auch asymmetrisch gefaltete Displays scheinen für Apple nicht unmöglich zu sein.
Selbstredend ist ein Antrag auf ein Patent für faltbare Displays nicht gleichzeitig eine Garantie für die Massenproduktion. Dennoch wird deutlich, dass Apple einiges an Geld für diese Art der Technologie investiert. Wann wir jedoch mit einem faltbaren iPhone rechnen können, wissen vermutlich nur wenige Menschen.




















Leave a Reply